στο σαλόνι και στην κρεβατοκάμαρά σου!

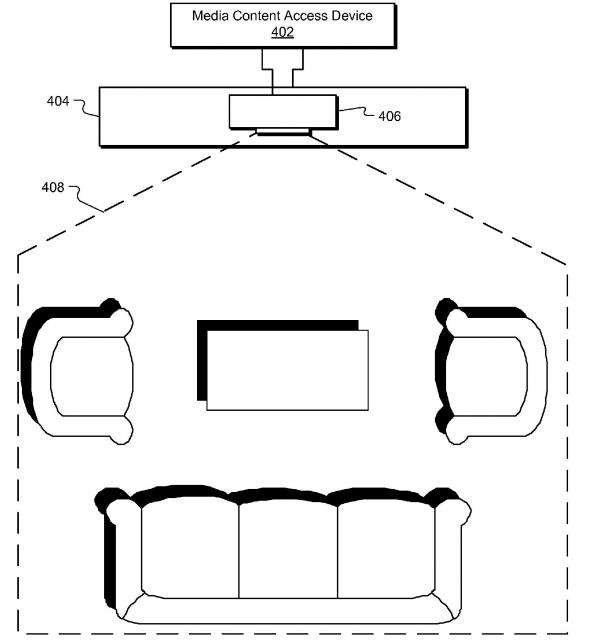
Η εταιρία τηλεπικοινωνιών, Verizon, κατέθεσε πρόταση για κατοχύρωση μιας νέας εφαρμογής που θα έχει ως στόχο την στοχευμένη διαφήμιση που βασισμένη σε πληροφορίες που θα συλλέγονται από την παρατήρηση της συμπεριφοράς του κοινού. Ειδικά διαμορφωμένα συστήματα κάμερας και μικροφώνων, ενσωματωμένα στις τηλεοράσεις των καταναλωτών, θα εντοπίζουν συμπεριφορές,συζητήσεις, ανθρώπους, αντικείμενα ή ακόμα και κατοικίδια που βρίσκονται κοντά στον χώρο της τηλεόρασης.
Αν το σύστημα, για παράδειγμα, καταλήξει στο συμπέρασμα ότι ένα ζευγάρι τσακώνεται, τότε θα στείλει αυτήν την πληροφορία στον κεντρικό εξυπηρετητή και αυτός, με τη σειρά του, θα εμφανίσει στην τηλεόραση του σαλονιού ή σε οποιαδήποτε κινητή συσκευή, μία διαφήμιση για σύμβουλο γάμου. Αν οι πληροφορίες που συλλέξει ο «Μεγάλος Αδελφός» της Verizon, δείχνουν ότι το ζευγάρι περνάει ένα ρομαντικό απόγευμα, τότε θα εμφανιστεί διαφήμιση για ταξίδια δύο ατόμων ή για προσφορές λουλουδιών ή ακόμα και διαφημίσεις-προτάσεις ρομαντικών ταινιών.
Για πολλά χρόνια οι υπεύθυνοι τεχνολογίας ήθελαν να χρησιμοποιήσουν συσκευές όπως το Kinect της Microsoft, για να εξελίξουν τη στοχευμένη διαφήμιση, όμως η Verizon πηγαίνει τη συγκεκριμένη τεχνολογία ένα βήμα παραπέρα με τη νέα της πατέντα που περιγράφεται από την εταιρία ως «Μέθοδοι και Συστήματα για Παρουσίαση Διαφημίσεων που Σχετίζονται με την Συμπεριφορά των Χρηστών».

πηγή:http://vigilantcitizen.com, newsbeast.gr, http://www.myreview.gr
Δεν υπάρχουν σχόλια:
Δημοσίευση σχολίου
ΠΑΡΑΚΑΛΩ ΜΗΝ ΑΦΗΝΕΤΑΙ ΠΛΕΟΝ ΤΑ ΜΗΝΥΜΑΤΑ ΣΑΣ ΕΔΩ ΑΛΛΑ ΣΤΟ "ΕΠΙΚΟΙΝΩΝΕΙΣΤΕ ΜΑΖΙ ΜΑΣ"
Σημείωση: Μόνο ένα μέλος αυτού του ιστολογίου μπορεί να αναρτήσει σχόλιο.